线束工程师服务平台
可以搜到:产品、技术、资料、新闻、检测、企业、视频
1. 压接连接
压接合格的三要素:压接外观、压接高宽度、拉拔力测试值,端子与电线的连接优先采用如图所示的压接方法。

端子压接是是指通过外力使电线与端子接触面强力结合,依赖工装的压力使端子从自由弯曲到校正弯曲的过程,具体要求如下:
a、喇叭口:前后喇叭口均等、仅后端有喇叭口、后端>前端,符合任一项均合格;
b、端子料头:前后料头≤0.5mm;
c、铜丝出头长度:前端≤1.0mm且可见铜丝;
d、变形:不允许有翘曲、扭曲现象;
e、铜丝包爪:皮线未压入包爪内,包爪内铜丝无外漏;
f、绝缘层压接:上下30°弯折不少于3个循环,包爪前端仍可见绝缘层。

✔这样要求的理由是:
a、后端无喇叭口会导致铜丝压断;
b、料头过长会影响对插效果;
c、铜丝出头长度过长会影响自锁或短路;
d、端子压接翘曲、扭曲影响装配和对插;
e、皮线进入铜线包爪内会降低电性能;
f、绝缘层压接力不够会导致短路。
2. 导体压接
导体压接应满足下列要求:
a ) 端子应分别压紧在导体和绝缘层上,导体不应压断,导体芯线应全部压入端子的卷曲部分中。
b) 电线绝缘层不应被压入导体压接区,在图中所示的连接B区应可见导体和绝缘层。
c ) 在图中所示的连接区应可见线端,但不得妨碍插接。
d ) 如图中所示导体压接区“后R”(圆弧)应可见。
e ) 在图样及技术文件无规定时导体压接区横断面应符合附录 A 的要求。
f)压接盘内纵轴向左右两侧的弯曲不能超过3°如下图示:

g)压接盘内纵轴向上下的弯曲不能超过5°如下图示:

h)搭铁端子孔式接头芯线出头2不允许超出外圆线1;竖排端子头部搭边向下不得有毛刺,如下图示:

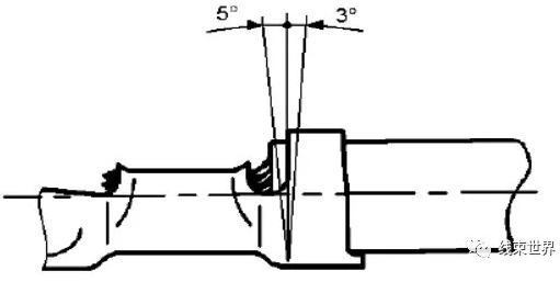
i)端子绝缘包爪压接向前倾斜不能超过5°,向后倾斜不能超过3°,如下图示:

✔这样要求的理由是:
a、导体如被压断或未全部在端子的卷曲部分中,会导致电线烧断;芯线出头过长,
b、电线绝缘层被压入导体压接区会导致接触电阻增大发热烧车;
c、A区不可见线端,拉拔力降低,如芯线出头过长,妨碍插接,影响电性能;
d、后端如果没有喇叭口,会导致压接后芯线受损伤,降低电性能;
e、断面分析不合格是烧车的直接隐患;
f、g、弯曲度超标影响插护套和对插端子,导致电性能不良;
h、如果孔式接头芯线出头超出外圆线,影响装车,导致接触不良烧车;
i、绝缘包爪压接倾斜超标,电线绝缘皮脱落或影响插护套。
3. 绝缘层压接 (a、b、c)
按下图所示对绝缘压接进行3个循环的弯折试验后,在连接B区应可见电线导体和电线绝缘层。
这样要求的理由是:如果绝缘皮包爪压接不良,电线绝缘皮脱落会引起短路烧车。

✔ 绝缘层压接端子尾部的卷边可能会变形或压破绝缘皮,但是不能刺入导体铜丝内。
端子绝缘层压接必须以DIN EN60352为依据的侧弯试验,既保证装配时绝缘层不回缩,又得让端子插入护套时顺利无干涉。
a)F型压接(m包)



4. 带防水栓的绝缘压接。
a ) 防水栓在压接时不应损伤。电线和防水栓与端子压接后,如下图所示,在连接B区应可见电线绝缘层及防水栓端部。
b)安装在湿区的连接器应属于密封防水型,连接器空位应使用盲塞, 防水性能应满足QCT417
车用电线束接插器试验方法和一般性能要求标准中的规定.

c)端子大尾部必须紧贴防水栓并将其包裹,防水栓不能被被端子尾部破坏或刺穿,电线与防水栓之间、防水栓与护套之间间隙不可见,防水栓在端子大尾部的包裹里受力无松动,且位置正确如图:

d) 对称的O型防水栓压接端子大尾部最多可以360°包裹电线防水栓,不允许用叠包、m型压接,如下图:

e) 不对称的O型防水栓压接端子大尾部最多可以360°包裹电线防水栓,如下图:

作业时要点:
a、检查剥头长度是否与线卡相符;
b、端子压接后必须做首件检验;
c、防水栓不得有破损现象;
d、芯线出头长度:前端≤1.0mm;
e、绝缘皮不得进入芯线包爪内,包爪内铜丝无外漏;
f、后端必须有喇叭口;
g、喇叭口大尺寸为材料厚度的1~2倍;
h、离开设备时应随手关机。

✔这样要求的理由是:
a、剥头长度不准会导致压接不良;
b、首件不合格会导致批量不良;
c、防水栓破损会导致护套不防水出现短路;
d、芯线不出头降低拉拔力,出头过长影响对插且有铜丝连电短路烧车风险;
e、绝缘皮进入芯线包爪内降低电性能,接触电阻增大存在烧车风险,铜丝外漏会导致端子融化;
f、无喇叭口存在铜丝被切断隐患;
g、喇叭口过大存在铜丝和端子接触不良的隐患;
h、安全生产。
✔自检发现问题返修完毕后,需再次进行外观确认
a、依据线卡要求端子型号及数量核对是否存在:压错件、漏压件问题;
b、目测端子压接外观是否存在:圆弧不合格、压接不出头、压接漏铜丝、防水栓破损等现象;
c、压接半成品不得有以下现象:a.防水栓没到位;b.防水栓虚压;c.防水栓开裂。
因为压错件无法对插,

5 连筋
连筋(端子与端子间连接的料带切除后,保留在端子上的剩余部分)不能损伤电线绝缘层和密封塞,端子前部、后部连筋最大长度不应超过 0.5mm 的范围。
✔这样要求的理由是:
如果端子前部连筋≥0.5mm,存在对插不到位风险,影响电性能;
如果端子后部连筋≥0.5mm,存在和其它金属物接触导致电线短路烧车。
6. 连接强度
端子与电线连接应牢固, 在规定的拉力下不应损伤和脱开, 其最小拉力值应不小于表 3 的规定。



✔一般端子压接剖面合格时的拉力值为上表数据的2倍左右,所以我们要强调端子压接高宽度标准达标(剖面合格)。如果哪一天主机厂整车出现故障(烧车),电性能出现不良,首先怀疑的就是端子压接有问题,会有主机厂工程师到线束厂验证端子压接,查看现场的压接高宽度标准是否执行后压三个样件做剖面验证,如果剖面不合格主机厂罚单就落地了,当然外观、拉力也要达标;所以“拉力够了就能量产了”的说法是有风险的。
7. 采用刺破连接方法时应符合下列要求
a ) 电线端面应平整,并与电线的轴线相垂直。端面处导体与绝缘层应在同一平面上。在连接处电线应不弯曲,并在下图所示a区内可见电线端部。
b ) 端子与电线连接应牢固, 在使用过程中不应损伤和脱开。

8. 电压降
采用压接方法时,导体压接区的电压降应不大于表4 的规定。


✔ 电压降工作原理
电流通过导体(用电器)会时受到一定的阻力,但在电压的作用下电流能够克服这种阻力顺利通过导体(用电器),通过串联电阻(用电器)后,电压会有所下降,电阻越大,它两端电压的变化就越大通常我们把电流通过电阻(用电器)时在电阻(用电器)两端产生的电压降低的多少称之为电压降。
✔电压降超标一般需要重新调试压接。

端子与电线压接处的电压降实验
在端子与电线压接处中间位置至电线75mm长的电线处(剥去绝缘层钎焊牢固)的两点间测量,扣除75mm长的电压降后电压后即为端子与电线压接处的电压降。当一个端子同时连接两根或两根以上电线时对每根电线施加电流,以测量电压降。






扫一扫
扫一扫