线束工程师服务平台
可以搜到:产品、技术、资料、新闻、检测、企业、视频
(二)合模部件
合模部件是注塑机的重要部件之一,其功能是实现启闭运动,使模具闭合产生系统弹性变形达到锁模力,将模具锁紧。
对合模部件的要求:
① 动范本的启闭模运动要高速、平稳、静音;
② 合模机构必须达到额定锁模力要求,可靠地锁紧模具;
③ 合模部件有足够的装模空间和范本行程;
④ 动范本运动要可靠安全,保护人身与模具安全,设置双重保险;
⑤ 合模部件及其模具有足够的强度和刚性。
合模部件由合模架、合模机构、调模装置、保护装置、顶出装置等组成。
1.合模机构
合模机构有液压式、机械式和机械-液压复合式。下面对我厂注塑机的合模机构做一下介绍。
(1)液压曲肘连杆式
属机械-液压复合式,其结构特点是液压缸通过曲柄连杆机构驱动模板实现启闭模运动,充分利用了曲柄连杆机构的行程、速度、力的放大特性和自锁特性,达到快速、高效和节能的效果。常用的液压曲肘连杆式形式有:双曲肘内翻式、双曲肘外翻式、撑肘式、单曲肘摆缸式和单曲肘挂缸式。
我们所用的是双曲肘内翻式,如图9所示。这种形式的动作原理是:启闭模时,合模缸1进油,活塞杆推动双曲肘连杆机构5带动动范本6及其模具实现启闭模运动;模具接触时,曲肘连杆5处于未伸直状态,在合模油缸1推力作用下曲肘连杆机构5产生力的放大作用,使合模系统发生变形,直至曲肘连杆5伸直进入自锁为止。模具接触时连杆未伸直的程度是通过调模装置与合模油缸相配合,按工艺所要求的锁模力来调整的。

1-合模油缸;2-调模装置;3-后范本;4-拉杆;5-曲肘连杆;6-动范本;7-定范本;8-顶出油缸;
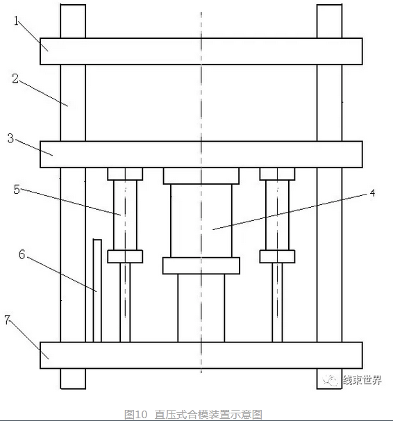
(2)直压式合模
此种结构的特点是其开关模动作及锁模动作都是通过油缸直接作用完成的。移模速度和合模力的大小分别由活塞杆的移动速度和活塞产生的最大轴向力确定。

1-上范本;2-拉杆;3-下范本;4-锁模油缸;5-移模油缸;6-电子尺;7-底板
这种结构的工作原理是:开关模时,移模油缸5进油,推动活塞杆,从而带动拉杆及动范本运动,实现开关模动作;进入锁模状态后,锁模油缸4进油,在油的推力作用下产生大的锁模力,通过锁模油缸活塞杆对底板7的力的作用而压紧模具,实现锁模。
(3)直压式与肘杆式的比较
①直压式合模力F = P油缸×S油缸,故调节合模力较容易,但压力确定后,如PMAX=140Kg/cm2,故不允许超载。而肘杆式注塑机是通过连杆机构的力扩大以后产生的,故通常情况下可以超载10%以上。
②由于结构关系,通常情况下直压式的容模量大于肘杆式,特别适用于深容器产品。
③肘杆式刚性比直压机刚性好,因为高压锁模时,肘杆式是全部铸钢变形后产生的,合模力当刚要超载时,因为液压油与铸钢的弹性模量差10倍左右,故同样要产生飞边情况下,肘杆式注塑机产生的飞边要小得多。
④肘杆式注塑机由于合模力是通过力的放大作用产生的,且高压锁模后,在注射、保压过程中可卸压,而直压式在注射、保压过程中始终高压保持,且直压式合模油缸直径远大于肘杆式,故肘杆式较省电。
⑤肘杆式合模机构都是通过连杆机构产生合模力,故要有高的模板平行度及长的寿命,其所要求的加工精度较高,且零件较多,成本较高。而直压式是通过合模大油缸产生合模力,帮其密封存要求较高,随着时间的推移,较易磨损,产生泄漏后,合模力会下降。
2.合模架的组成
合模架是合模部件的基础部分,主要由4根拉杆、后模板、动模板、定模板及拉杆螺母组成的具有一定刚度和强度要求的合模框架。动模板在移模装置的驱动下,以拉杆以导向,实现启闭模运动。因此,4根拉杆与3块模板的材料、结构尺寸,拉杆之间的平行度与3块模板垂直度都有较高的要求。
1)范本
后模板、动模板和定模板是合模部分的重要零件,后模板和头板通过拉杆组成合模框架(立式机是底板和动范本形成合模框架)。锁模后,动、定范本在锁模力的作用下,将模具锁紧并使其产生压缩变形,与此同时,3块范本将发生弯曲变形,范本中部将产生挠度。模板的结构,尺寸,材料,弹性模量将直接影响合模系统的强度、刚性,最终影响到锁模力。
2)拉杆
拉杆又叫格林柱,拉杆是合模装置的又一主要零件,除与模板组成刚性框架外,还兼有导柱功能,使二板在上滑动,因此要求有较高的几何精度、尺寸精度、4根拉杆的同步精度、光洁度及耐磨性能。而且合模系统作用时拉杆受到非对称循环应力的作用,将受疲劳极限的考验。
3.调模装置
如图11所示,调模装置主要由液压马达、齿圈、定位轮、调模螺母的外齿圈等组成,均固定在后模板上。

1-后范本;2-液压马达;3-大齿圈;4-后螺母
调模装置设在后模板上,其动作原理是:当调模时,后范本1连同曲肘连杆机构及动范本一起移,调模时4只带有齿轮的后螺母在大齿轮3驱动下同步转动,推动后范本及其整个合模机构沿拉杆向前或向后移动,调节动模板与前模板的距离,根据允模厚度及工艺所要求的锁模力实现调模功能。此种结构紧凑,减少了轴向尺寸,提高了系统刚性。
各齿轮与齿圈的啮合精度,调整螺母与拉杆端螺纹的配合精度及运行的同步精度,将影响调模的灵活性、调模误差、调模精度。
对于直压式合模机构,动、定模板间的距离可以通过移模油缸活塞杆进行调整,没有专门的调模装置。
4.顶出装置
顶出装置要有足够的顶出力,顶出速度,顶出次数和顶出精度,是在顶出油缸的作用下作顶出动作。
在我厂用的卧式机中,顶出油缸是通过导杆固定在动模板上的。如图12所示,其主要的由顶出油缸和顶出杆组成,油缸为双作用活塞式油缸。

1-顶出油缸;2-活塞;3-活塞杆;4-导杆;5-顶出板;6-顶出杆;7-动范本;8-电子尺
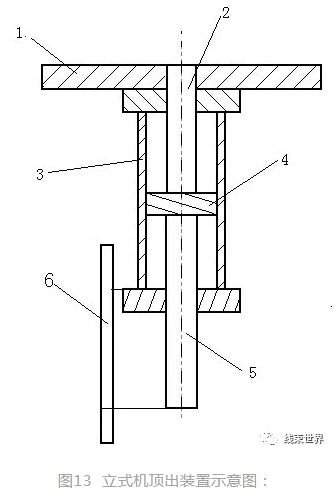
我们用的而带有滑板的立式合模机构的顶出油缸是双作用活塞杆式的,其示意图如图13:

1-滑板;2,5-活塞杆;3-顶出油缸;4-活塞;6-电子尺
在图13中,活塞杆2同时又起顶出杆的作用。
评顺注塑机的顶出油缸是置于锁模油缸内的一个双活塞作用式油缸,其活塞杆同起到顶出杆的作用。
5.合模部件的精度
合模部件的精度要求从合模部件装置分析可知:合模部件装配后置于机架上,应保证与注塑部件中心高度一致或垂直。锁模后动模板与定模板锁紧模具,因此,两模板经调整后应高度平行。为保证锁模力作用在中心在线,要求锁模油缸、调模装置与尾板、二板、头板组成的合模框架的中心线保持一致。3块范本拉杆孔的平等度与其平面的垂直度,各孔的同心度,以及孔本身的尺寸精度及几何精度,对装配精度都将产生重要影响。曲肘连杆机构顶角各孔之间的相对位置精度,孔的同心度,孔与其端面的垂直度,孔本身的尺寸精度,几何精度,对曲肘连杆机构的运动中心与油缸的同心度将产生重要影响。
扫一扫
扫一扫