线束工程师服务平台
可以搜到:产品、技术、资料、新闻、检测、企业、视频
Tesla Cybertruck 凭借突破性的 48V电气系统和线控转向系统彻底改变了汽车行业。当然,如果线束没有一种新的布线方式,通信方法没有新的改变,这种变革进步是不可能实现的。
特斯拉汽车最近申请了专利,又盯上了线束。
Cybertruck看起来可能有点平淡无奇,感觉不像马斯克之前说的那么好。
不过,Cybertruck的先进技术没有让人失望。
其中之一就是首次在量产车辆上使用的48V低压电气系统。特斯拉通过大幅度改进和简化电气架构,这将使其能够以更好的成本制造下一代电动汽车。
特斯拉宣布,与之前的特斯拉电动汽车相比, Cybertruck 的布线架构将显着简化。特斯拉通过使用连接到高速通信总线的多个本地控制器而不是将每个电气组件连接到中央控制器来实现这一目标。
要了解这种情况,有必要谈谈传统车辆。



通常,车辆上的每个传感器和电气元件都必须连接到中央控制器和低压系统以获取电源。有时,这意味着复杂零件需要很多电线。我们以门为例。它可能包含传感器,用于向汽车计算机发出信号,表明汽车处于打开、关闭或倾斜状态。对于窗户来说也是如此,窗户具有触发打开和关闭的按钮。这些开关连接到车辆的控制器,而控制器又连接到车窗执行器以降低或升起玻璃。
这时候我们在加上扬声器、气囊、摄像头。。。。。你就会明白为什么线束如此混乱。现代车辆内的电线延伸好几千米,增加了复杂性、成本和重量。更糟糕的是,构建和安装它们基本是手工完成的。这些都是昂贵且耗时的过程,特斯拉希望消除这些过程。
这就是为什么它提出了分布式控制器的想法。车辆将配备许多用于各种功能的本地控制器,而不是中央单元。
分布式控制器
举个栗子,门控制器负责将车窗、扬声器、灯光、后视镜等等和其他组件输入电气后才能工作。在这种情况下,电线就会很短并且能够全部包含在门组件内。
然后,车门将仅用两根电线连接到车辆的数据总线,这也为电气部件提供电力。只需两根电线即可实现车门的所有复杂功能,而传统汽车则需要十几根电线,这就是特斯拉在 Cybertruck 上所做的事情。
该电动皮卡采用线控转向系统,需要高速(低延迟)通信总线将方向盘运动实时传输到 Cybertruck 的车轮。这就是为什么当今大多数汽车使用的 CAN 总线存在不足的原因:它的数据吞吐量较低(约 1 Mbps)且延迟较高。相反,特斯拉使用了带有以太网供电功能的千兆位以太网架构版本,使用相同的数据线为组件供电。
特斯拉在 Cybertruck 中使用的数据网络的延迟仅为半毫秒,对于转向信号来说非常完美。它还提供足够的带宽,允许各种控制器实时通信,作为一个整体工作。特斯拉去年12月获得了该通信系统的专利,Cybertruck 充分利用了该系统。然而,特斯拉还有另一张王牌可以帮助简化制造。这对于特斯拉计划于 2025 年推出的售价 25000 美元的电动汽车至关重要。
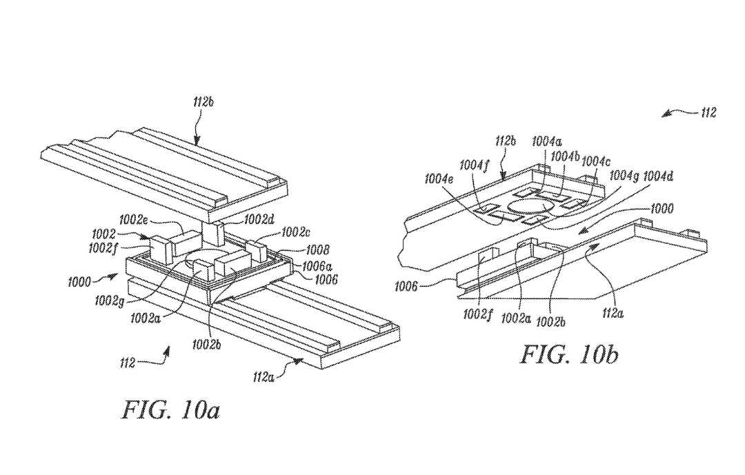
模块化布线系统
根据最近题为“布线系统架构”的专利申请,特斯拉设计了一种模块化布线系统,可大大简化制造。这包括电源和数据的主干布线,并经过 EMI 屏蔽以限制干扰。最好的部分是,这种模块化布线包括车身上的导电涂料和粘合剂,它支持机器人组装和特斯拉新的未装箱车辆制造工艺。




根据专利申请中包含的图形,模块化布线系统将使电缆变得过时,并且由于专有连接器,组件将卡入到位。它也是平坦的,因此电线不会突出,甚至不会引人注目。与线束需要由生产线上的工人手动安装不同,模块化布线系统的安装更适合自动化。
相反,扁平布线系统的连接器包含在每个汽车部件中,从结构面板到更复杂的组件(例如车门)。安装这些组件还涉及建立必要的连接,类似于乐高积木如何粘合在一起。这减少了生产时间和成本。
我不确定 Cybertruck 是否包含这种类型的接线,尽管它肯定使用汽车级千兆字节以太网总线而不是 CAN 总线。然而,这两个系统可以无缝地协同工作,并且一起使用时可以带来双重好处。
特斯拉计划的低成本车型可能不会使用线控转向或其他奇特的组件,但它肯定需要快速通信骨干和模块化布线系统,如下面专利中描述的那样。
扫一扫
扫一扫