线束工程师服务平台
可以搜到:产品、技术、资料、新闻、检测、企业、视频
特斯拉作为新能源车中的明星企业,本文我们简单的介绍下其Model S的高压系统,包括高压系统的工作原理,配电系统工作原理,高压线束的一些基本信息,希望能够帮助到广大线束工程师。以下为正文。


1 高压系统介绍
Model S的动力系统的分布示意图如下图所示,可以清晰看到各个系统的分布位置。

Model S高压总成主要包含以下几部分:充电接口、动力电池系统、交流感应电机、车载充电机、高压配电盒、加热器、直流转换器DCDC、空调压缩机。
2 高压系统原理图
Model S的高压系统工作原理如下图所示:
主要有3个路径:
1,充电口取电到充电机经过交/直流配电盒完成交流到直流电的转化,然后给到动力电池组,完成整车充电。
2,动力电池组输出高压电给电机控制器,电机控制器控制驱动电机为整车提供动力;
3,动力电池组的高压电经过高压配电盒分配,分别输出给DC/DC(高压转低压给整车低压系统供电),PTC,压缩机,水加热泵等高压组件。

3 高压线束介绍
为了便于理解前文的高压系统原理图,我们先来介绍下Model S的高压线束系统。

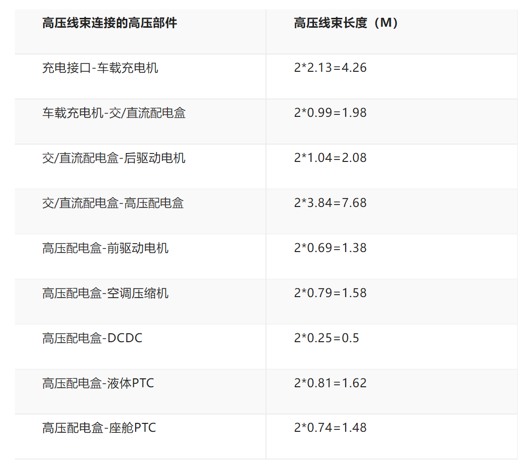
Model S各高压部件使用橙色高压线束相连接,整车高压线束的长度22.56m,共分为9段高压线束,9段高压线束连接的高压部件及长度如下表所示。

特斯拉高压线束选用美国 公司 CHMPLAIN Cable 的150 XLE High Voltage Shielded Battery Cable,手感柔软,感觉比国内的硅胶电缆柔软度还好,好的柔软度同时提升了狭小空间的安装便利性。

特斯拉高压电缆的外部多采用的是自卷编织防护套管防护,只有后驱动电机高压线束、液体加热器、车厢加热器的高压线束使用了波纹管防护。
充电插座的高压线束使用了自卷编织防护套管防护,此些线束大部分是布置在车厢内,使用环境好,另高压线束的固定多以轧带的形式固定。

后驱动电机的高压线束使用了波纹管防护,此些线束大部分是布置在车厢外,使用环境相对较差。

充电插座高压线束采用的是50平方的屏蔽高压电缆。MODEL 3的充电插座高压线束是95平方,从两者线径来看,MODEL 3的充电功率得到了大幅的提升。
4 高压配电盒
Model S的高压配电盒位置机舱盖底下,位置布置如下图所示:

高压配电盒的工作原理如下图所示:

高压配电盒的内部结构如下图所示:

5 Model S充电系统介绍
Model S充电原理图如下图所示:

交/直流配电盒的内部结构如下图所示:

交/直流配电盒内部原理如下:

扫一扫
扫一扫