线束工程师服务平台
可以搜到:产品、技术、资料、新闻、检测、企业、视频
1 范围
本标准规定了汽车用电线束过孔橡胶护套(EPDM)的术语和定义、评价标准和试验方法。
本标准适用于汽车用电线束过孔胶套(EPDM)(以下简称过孔护套)
2 规范性引用文件
下列文件对于本文件的应用是必不可少的。凡是注日期的引用文件,仅所注日期的版本适用于本文件。凡是不注日期的引用文件,其最新版本(包括所有的修改单)适用于本文件。
GB/T191-2008包装储运图示标志
GB/T1216-2004外径千分尺
GB/T 9174-2008 一般货物运输包装通用技术条件
GB/T21389-2008游标带表和数显卡尺
QC/T238-1997汽车零部件储存和保管
Q/JL J100003-2009 汽车零部件永久性标识规定
Q/JL J125010-2009 汽车用三元乙丙橡胶(EPDM)材料
Q/JLYJ711175-2009车内非金属件气味等级限值技术条件
Q/JLY J7110335A-2011汽车非金属材料阻燃性限值要求及试验方法
Q/JLY J7110456B-2012汽车产品禁用、限用物质要求
3 术语和定义
下列术语和定义适用于本标准.
3.1 过孔护套
在车身过孔处,为保证获得良好的防水性能或者使线束易于弯曲而应用的橡胶或者弹性零件。
3.2 塑料骨架
一种可以增强过孔护套插入感觉并相应的增加密封性、安装便利性的塑料零件。
3.3 金属压板
增加过孔护套密封性及安装便利性的金属仮金。
3.4 试验用钢板
表面防护、厚度和护套的过孔与实车条件下都相同的钢板。
3.5 内锁
将塑料骨架固定在钢板上的结构。
3.6 覆盖物
用于捆扎或者保护线束的零件。
3.7 填充物
用于密封线束和过孔护套之间缝隙的物质,如防水胶泥。
4 技术图纸上需标注的内容
技术图纸上应标注的内容如下:
a) 过孔护套的材料;
b) 过孔护套的形状和尺寸;
c) 过孔护套的颜色;
d) 内置件的材料、颜色和外廓尺寸;
e) 可以适配的仮金的厚度;
f)试验用钢板的表面防护技术规范、厚度和护套过孔尺寸;
g)安装要求;
h)插入过孔护套的线束的技术规范(导线类型、导线直径以及覆盖物)和布线路径;
i)过孔护套应用位置的标识(前后门过孔护套、后背门过孔护套和穿过前围的过孔护套);
j)门过孔护套连接的两部分的折页中心、开启角度、固定间距以及固定仮金的厚度;
5 技术要求
5.1 一般要求
5. 1. 1过孔胶套的基体材料为三元乙丙橡胶(EPDM),性能应符合Q/JLJ125010-2009的规定。
5.1.2产品中有毒有害物质限量要求应符合Q/JLYJ7110456B-2012的规定。
5.1.3气味散发性应符合Q/JLYJ711175-2009表1的规定。
5. 1.4材料标识和标记应符合Q/JLJ100003-2009的要求。
5.1.5阻燃性能符合Q/JLY J7110335A-2011表1中的要求.
5.2性能要求
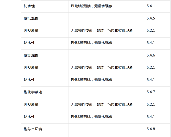
5.2.1过孔护套的性能要求应遵照表1。
表1性能要求




6 试验方法
6.1试验条件
6.1.1测试的标准大气条件
a)环境温度:(23±5)°C;
b)空气相对湿度:(60±15) %;
c)大气压力:(96±10)kPa。
6.1.2样件耐环境性的测试条件
6.1.2.1把带有过孔护套的一段线束作为测试样件,将其安装在测试用钢板上,在进行耐环境性试验前,前后弯曲线束5次(见图1 )

图1耐环境试验
6.1.2.2对于耐环境试验,过孔护套前后的线束需分别固定(见图2)。
a)固定面的安装倾斜度:模拟实车环境;
b)固定面的位置和方向:模拟实车环境;
C)固定件:选择与实车上相同的件(即线束紧固件);
d)线束长度:从固定面量起大约100mm;
e)线束直径:等同于该过孔护套可通过的最大直径;
f)过孔护套固定方向:模拟实车环境。

图2耐环境性试验的固定
6 1.3防水试验中水为肥皂水/碱水。
6.1.4试验项目组合参照附录A。
6.2 外观
6. 2. 1外观质量
目测检查是否有变形、裂纹和其它缺陷的岀现,不允许有杂质和喷霜现象。
6.2.2外廓尺寸
使用三坐标测量仪、GB/T 21389-2008中规定的游标卡尺或者GB/T 1216-2004中规定的千分尺
测量每一个零件的尺寸,尺寸偏差应符合图纸要求。
6.3 强度和装配性能
6.3.1过孔护套的装配性能
对带有塑料骨架的过孔护套进行本试验。按照图纸要求,在模拟实车条件下,将过孔护套垂直插入试验用钢板并进行测试。
6.3.2过孔护套的插入力
对带有塑料骨架的过孔护套进行本试验。
a) 按图3所示将线束插入过孔护套,在20^和T0°C的环境下,用推拉力计以(20〜200) mm/min TO的速度将过孔护套垂直插入试验用钢板的护套孔内,并测量插入力
b)将过孔护套插入试验用钢板时,利用推拉力计推压内锁顶部(见图3)

过孔护套南插入力测试
6.3.3过孔护套的分离力
a)将过孔护套插入试验用钢板,如图4所示。在20°C的环境下,用推拉力计以(20〜200)mm/min的速度垂直推压过孔护套。当过孔护套(或其塑料骨架)从试验用钢板中脱离岀来时,测量分离力。
b)“D”表示过孔护套的孔径,椭圆形过孔护套的“D”应为短轴。

图4分离力试验图示
6.4 耐环境性
6.4.1防水性
6.4.1.1按图5方式固定过孔护套,将过孔护套置于碱水下150mm深处,并放置24个h。用PH试纸检查是 否出现漏水现象;带有金属压板的胶套需要按照相应力矩要求固定。

图5浸渍试验
6.4.1.2按图6方式固定过孔护套,在表2所列的条件下,对过孔护套喷碱水,时间为1min。用PH试纸 检查是否岀现漏水现象。

图6喷水试验

6.4.1.3对图纸中特殊标识的后背门过孔护套和门过孔护套需进行下列试验。
a)试验样件:带有与实车环境相同的线束和覆盖物的过孔护套;
b)试验方法:
1)过孔护套的钗链中心、开启及闭合角度、固定间距及固定板的厚度应模拟实车环境;
2)在关闭条件下(图7所示),如图8所示沿A向,在(a)到(d)之间的各点上分别施加49N的力,并按 表3所列的条件喷水Imin,用PH试纸检查是否岀现漏水现象;
注:仅对带塑料骨架的过孔护套做此试验。


图8后背门和门过孔护套喷水试验条件
3)在表3所列的条件下,按图7所示进行100次打开和闭合的循环后,将闭合状态下的过孔护套浸泡在碱 水中10h。然后对过孔护套进行Imin的喷碱水试验,并用PH试纸检查是否岀现漏水情况。

6.4.1.4将过孔护套固定在防水箱上(模拟实车环境),在如下所述的各个方向上进行高压碱水(如肥皂水清洗,PH试纸检查是否岀现漏水现象。
a)喷水压力:7. 84MPa;
b) 距射距离(喷嘴距离):300mm;
c) 喷水量:14L/min或更多;
d)喷水方向:在顶部、底部、左侧和右侧的4个方向上以0°、45°和90。喷射,在如图9所示条件下,过 孔护套在每个方向被分成4部分(总共9个方向);
e)喷水周期:每个方向5s。

图9高压喷水试验
对图纸中特殊标识的后背门过孔护套和门过孔护套(前后共4门)进行本试验。
6.4.2易弯曲性
对图纸中特殊标识的后背门过孔护套和门过孔护套(前后共4门)进行本试验。
a)试验样件:
对图纸中有特殊标识的过孔护套,其所配线束和覆盖物须模拟实车环境(见图10)

图10弯曲试验样件
b)试验条件:
1)图13中过孔护套的钗链中心、开启及闭合角度、固定间距及固定板的厚度应模拟实车环境;
2)过孔护套外侧的线束路径应模拟实车环境;
3)打开和闭合的速度为:(1.0〜2.0)m/s。

图11弯曲试验条件
b)试验方法:
1)在b)的试验条件下,做开启和关闭的耐久性试验。试验时间为开门1.5s,停3s,关门1.5s, 停3s。每个门的开启和关闭操作的次数如下:
-前门:100000 次;-30°C10000次、常温80000次、80°C10000次。
-后门:60000 次;-30°C5000次、常温50000次、80°C5000次。
-后背门/备箱:40000次;-30°C5000次、常温30000次、80°C5000次。
2)对图12中的每一根导线逐一通1A的电流,并在记录表上连续记录压降V (见图12);

图12导线通电试验
6.4.3耐高低温循环
过孔护套置于(100±3)°C的恒温箱中2h后,立即将恒温箱温度降到(-30+ 3) °C继续放置2h,作为一个冷热交变循环,执行50个循环。
6.4.4耐高温性
过孔护套置于(120 + 3) °C的恒温箱中120h后,放置于常温环境中直至过孔护套恢复至常温。
6.4.5耐低温性
将过孔护套放入(-40 + 3) °C的恒温室中120h后,取岀放置直到恢复至常温。
6.4.6耐冰冻性
过孔护套放入(60±3)°C的水中100mm深处1 Omin,迅速将其放在(-30 + 3) °C的恒温室中2h。将以上操作作为一个循环,重复操作5次。然后放在标准温度下晾干。
6.4.7耐化学试液
a)耐如下化学品类型的试验:
1)标准温度下,将5m 1如下液体分别均匀涂抹于整个过孔护套上,5min后将其擦除,并放置 96h;
一汽车用汽油
一稀硫酸(密度1. 26g/cm3 )
2)将过孔护套分别浸没到如下液体中lh,液体温度(50±3) °C,再浸入白色煤油中5 min后, 放置于(80±3)°C的恒温箱中96 h;
—制动液
一变速箱油
—机油(汽油发动机)
一机油(柴油发动机)
3)将过孔护套分别浸没到如下液体中,液体温度为(50±3) °C,时间持续1h,然后放置于 (80±3)°C的恒温箱中96 h。
一防冻液
一洗涤液
—盐水(含5% NaCl)
4)将如下油脂涂抹过孔护套,然后放置于(70±3) °C的恒温箱中48h。一锂基润滑脂
注:4)仅对门过孔护套做此试验
6.4.8耐综合环境
过孔护套安装在振动试验台上,按下述条件进行试验:
a)振动条件:
振动频率:(20〜200)Hz 周期:20min
振动加速度:44m/s2 振动方向:垂直于过孔护套的安装方向
b)温度和湿度条件按照图13的循环;
c)时间:300h。

图13温度和湿度试验条件
7 检验规则
7.1 过孔护套检验分为供货方岀厂检验、定期检验、和公司进货检、验型式检验。产品岀厂前应 完成全部检验项目,确认合格后方可岀厂。
7.2 检验项目
7.2.1岀厂检验 过孔胶套岀厂检验项目及类型见表5。
7.2.2进货检验
供应商供货时,应按表5提供定期质量检验报告。
7.2.3 抽样成品性能检验:每个项目每次随机抽取一件。测试后如有项目不合格,则进行不合格项 的复验,复验后仍不合格的,则本次型式试验不合格。
7.2.4 有下列情况之一时,应进行型式试验,样本数量及试验顺序见表5:
a) 新产品或老产品转厂生产的试制定型鉴定;
b) 正式生产后,如结构、材料、工艺有较大改变而可能影响产品性能时;
c) 成批或大量生产的产品,除顾客要求外每两年不少于一次;
d) 停产一年以上、恢复生产时;
e) 岀厂试验结果与上次型式试验结果有较大差异时;
f) 质量部门提岀型式试验的要求时;
表5 检验项目




8 包装、运输和储存
8.1包装
装箱外应在明显部位标明,应符合GB/T 191-2008的规定:
一供方厂名、厂址;
一零部件名称及编号;
一运输要求标示;
一总质量、数量;
一岀厂日期;
一包装箱外形尺寸;
8. 2运输和储存
产品的储存和保管应符合QC/T 238的有关规定。产品的储存期通常为2年,在储存期满2年时, 产品仍应符合本标准上述的规定。
附录A
(规范性附录)
试验项目要求






注:△仅对图纸有特殊要求的过孔护套做此试验。
扫一扫
扫一扫