线束工程师服务平台
可以搜到:产品、技术、资料、新闻、检测、企业、视频
汽车线束胶带专用于汽车工业线束缠绕。采用优良的基材,高品质的合成橡胶型强粘力布基胶带,抗老化能力强。有较强的表面抗污能力和耐高温稳定性。
汽车线束的胶带有很多,比较常见的有PVC胶带,PE胶带,PET胶带,袖套,无纺布胶带,毛毡胶带等。PVC与PE胶带一般用于包裹,PET胶带与袖套一般用于耐磨的地方,无纺布与毛毡胶带一般用于降噪隔音的地方。
下面我就来一一介绍胶汽车线束胶带的特性,主要是根据ISO的标准来跟大家讲解一下,毕竟国际标准嘛。
1. 材料. 胶带应该符合这个标准的要求达6个月的储存,并且免受阳光直晒。胶带的颜色应该根据客户标准定义。只要其他的特性没有变,一种颜色的发布也表明了其他的颜色。
2. 标识.每卷胶带应该标注供应商的名称。
3. 尺寸主要分为总厚度与胶带宽度,这是根据各个主机厂或者线束工厂的要求来定。
测试样品. 准备两种各450mm长的测试样品。
设备.一个标度间距0.5mm的钢尺。
程序. 将没有拉力或者压力的测试样品的胶面放在硬的光滑表面。沿着长度在3个相似等距的点,用钢尺垂直于边缘测量宽度。
结果分析. 宽度应该根据见最后的总表。宽度的偏差应该在≤ ± 1 mm。
4. 拉伸强度与延伸率.测试应该根据ISO 29864 来执行,除了准备5个宽度相同的样品,每个样品200mm长。对于宽度> 25 mm 的胶带,一个25mm宽的测试样品应从胶带上垂直切下来。用一个锋利的小刀来获得净切边缘。测试结果的解释见最后的总表。。
5. 解卷力. 测试应该根据EN 1944来执执行。测试结果的分析,请见最后的总表。记录下平均力。 注释:解卷力应该在胶带供应商与线束供应商之间达成一致。

6,剥离力. 测试应该根据ISO 29862,过程1,180度(°)测试来执行。
测试样品. 准备3组宽度相同的样品,每个样品300mm 长。对于宽度> 25 mm 的胶带,一个25mm宽的测试样品应从胶带上垂直切下来。用一个锋利的小刀来获得净切边缘。.
过程. 剥离粘度以胶带宽度N/25 mm来体现
测试结果的分析. 见最后的总表。
7,带基的黏附力. 这个测试应该根据ISO 29862,过程2, 180° 测试带基的黏附力来执行。剥离粘度以胶带宽度N/25 mm来体现
测试样品. 准备3组宽度相同的样品,每个样品300mm 长。对于宽度> 25 mm 的胶带,一个25mm宽的测试样品应从胶带上垂直切下来。用一个锋利的小刀来获得净切边缘。.
测试结果的分析. 见最后的总表。
8,弯曲测试.
8.1 短期老化之后的弯曲测试
测试样品. 准备3组测试样品,每个样品由16个0.35mm2的绝缘导线(ISO薄壁)0.35mm2 或者12个0.5mm2 绝缘导线组成。测试所需的所有绝缘导线(线缆)应该是四氟乙烯与乙烯共聚物(ETFE)。当测试表1里面的F,F,G,H温度等级的胶带时,联系负责的客户部门询问在测试中应用什么样的电线。电线的长度为600mm。电线应该被紧紧地缠绕捆绑着。胶带应该从底部缠在测试样品上,每一圈缠绕应该一个接一个盖住前一圈的胶带宽度的二分之一。见下图。

过程. 测试样品应该在室温与相对湿度下保存≥24 h。见3.3.1. 。将测试样品垂直地放置在一个对流温箱里面240h,温箱见表1。测试样品彼此之间,并距离温箱内表面≥ 50 mm 。在老化之后,测试样品应该在温度23°C±3°C下储存6小时,并绕在一个有相同温度的,30mm 的芯轴。测试样品应该弯曲720°。弯曲360°的时间应该 60 s。之后测试样品被进行目视检查。
测试结果的分析. 测试样品不允许有任何溢胶,破裂,松弛,或者其他失效。
8.2 长期老化之后的弯曲测试
测试样品. 见短期老化测试的样品, 但是, 测试样品的结构应如表2所示。
表:用于长期老化弯曲测试与湿度影响的电线的类型

注释1: 电线绝缘层类型: ETFE = EthyleneTetrafluoroethylene(四氟乙烯与乙烯共聚物), FEP = Fluorinated Ethylene Propylene(氟化乙烯丙烯), PVC = Polyvinyl Chloride(聚氯乙烯), XLFE = Cross-linkedFluorinated Ethylene(交联含氟乙烯), XLPE = Cross-linked Polyethylene(交联聚乙烯), XLPO = Cross-Linked Polyolefin(交联聚烯烃)
过程. 测试样品应该在室温与相对湿度下保存≥ 24 h。见3.3.1. 。将测试样品放置在一个有强制空气或者对流温箱里面3000号,温箱见表1 。测试样品彼此之间,并距离温箱内表面≥ 50 mm 。不同胶带材料组成的测试样品,不应该同时测量。老化之后,测试样品应该在温度23 °C ± 3 °C 下储存6小时,并绕在一个有相同温度的,直径30mm 的芯轴。测试样品应该弯曲720°。弯曲360°的时间应该 60 s。之后测试样品被进行目视检查。
测试结果的分析:测试样品不允许有任何溢胶,破裂,松弛,或者其他失效。
8.3在过载温度老化之后的弯曲测试
测试样品. 见短期老化测试的样品, 但是这个测试的电线绝缘材质都应为ETFE.
过程. 测试样品应该在室温与相对湿度下保存≥ 24 h。见3.3.1.。将测试样品垂直地放置在在一个热温箱6h,温度见表1。测试样品彼此之间,并距离温箱内表面≥ 50 mm 。在老化之后,测试样品应该在温度23 °C ± 3 °C 下储存6小时,并绕在一个有相同温度的,直径30mm 的芯轴。测试样品应该弯曲720°。弯曲360°的时间应该 60 s。之后测试样品被进行目视检查。
测试结果的分析:测试样品不允许有任何溢胶,破裂,松弛,或者其他失效。
8.4冷弯曲试验
测试样品.准备3组样品,每组样品有两根互绞,且尺寸为0.35mm2电线组成。这个测试的所有电线绝缘层应该是ETFE 或FEP.
设备. 冷藏室
过程. 测试样品应该在温度-40 °C至少保存4h,然后缠绕在一个有相同温度(-40 °C),直径30mm 的芯轴。测试样品应该弯曲720°。弯曲360°的时间应该 60 s。之后测试样品被进行目视检查。如果PVC胶带在-40°C测试失败,可以在-25 °C进行此测试。
测试结果分析. 测试样品不允许有任何溢胶,破裂,松弛,或者其他失效。
8.5湿度影响之后的弯曲测试
测试样品. 见4.8.1.1,但是测试样品的结构应该如表2 所示
过程. 测试样品应该存储在气候模拟的小房间里900h,小房间相对湿度为95% ± 5% ,温度为+70°C 。在老化之后,测试样品应该在温度23 °C ± 3 °C 下储存6小时,并绕在一个有相同温度的,直径30mm 的芯轴。然后目视检查。
测试结果分析. 测试样品不允许有任何溢胶,破裂,松弛,或者其他失效。
9,耐磨性.
针耐磨. 这个测试根据ISO 6722-1来完成,带有从4.9.2到4.9.4的修改
测试样品. 100mm的胶带应该缠绕在芯轴上一层,芯轴的直径为5.0 mm ± 0.1 mm ,芯轴放置在设备中。胶带应该从芯轴的底部缠绕,胶带应该从底部缠在测试样品上,每一圈缠绕应该一个接一个盖住前一圈的胶带宽度的二分之一。应准备10组测试样品。
设备/过程. 设备应该:
• 记录失败之前的循环次数,在针磨破绝缘层时应停止,并保持与针接触。
• 根据ISO 6931-1,用一个直接为0.45 mm ± 0.01 mm 的针,针由弹簧丝组成
• 施加垂直力: 7 N ± 0.05 N
• 以55 cycles/minute ± 5 cycles/minute 的频率操作。注释:一个循环应该包含一个往复运动
• 磨损长度应为 15 mm ± 1 mm
•在动态的情况下,在测试样品上产生持续的垂直力
• 在测试中测试样品不允许移动。如果需要夹紧,施加在连接器上的纵向力不能超过exceed100 N/mm2
• 有个稳定的基座
• 在温度 23 °C ± 1 °C 下测试
重复这个过程,读出10组数据,但是需要在每次测试之后更换针。
在10组中的每个样品执行一次测试,并当在针磨破绝缘层并保持与针接触时,决定循环的次数
试验结果分析.测试样品应该承受附录表的最小循环次数,没有被切换。如果测试结果与管子或者袖套的参数相比,注意胶带通常有50% 重叠的,也就是双层
10,耐液体化学物质
浸没在流体之后的弯曲测试. 在暴露区域使用的粘性胶带应抵制与化学物质与机动车液体的偶然接触。只有温度等级C,D,E与更高等级的胶带才需要被测量。
测试样品. 两个截面积为0.35 mm2且与胶带的温度等级相同的电线,被绞在一起并被胶带50%重叠缠绕,被用来做测试。每次流体测试,准备3组300mm长的样品。
过程. 将测试样品浸入表3的测试流体5分钟。对于蓄电池酸液,测试样品应该被浸入5s。这个可以将样品做成“U”型,将样品的两端留在测试流体的外面才完成。柴油与汽油被浸入或者喷洒在样品上直到液体开始滴落。将测试样品保存在温箱里面48h,温箱温度在表3。在那时候之后,拿掉样品并将他们在室温保存3-16h。将每组测试样品缠绕了直径20mm的芯轴上,目视检查每个样品有没有破裂,撕裂,溶胶。拆开电线,将他们缠绕在直接为2mm的芯轴上,目视检查电线绝缘层有没有破裂,撕裂,或者融化。
表 3:耐流体化学测试的媒介

测试结果分析. 不允许有电线绝缘层的退化,且胶带仍需保证它的缠绕性能。记录任何表面的变化,退化的迹象,或者挠性的损失。
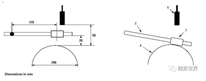
11. 噪声要求
测试样品. 在影响的地方,一个单层胶带缠绕在一个钢条上。胶带的纵向的长度为5cm,横向方向宽度为19mm.
设备 见下图

1. 麦克风.
2. 钢条.
3. 测试样品.
4. ENAW-5754铝合金板 (0.3 mm x 350 mm x 190 mm).
噪音测试设置
过程. 一个直径8.0 mm ±0.1 mm,长385的钢条放在厚度为0.3mm的ENAW-5754铝合金上方20mm,施加0.16N的力。噪声通过DS/EN 61672-1规定的等级1的麦克风来测量,麦克风放置在影响区域上方50mm。噪声以声压级(Lsp)的形式被测量,声压级频率计算为”A”,时间计算为“S”。测量包裹粘性胶带的钢条与未包裹胶带钢条的差异。测量单位是分贝(dB)。在测试样品相同的地方,进行10次测试。如果趋向更低的沉默值趋势出现,比如通过压缩样品,这个值应该在测试报告中指出。
测量结果分析. 见附录总表。如果测试结果与管子或者袖套的参数相比,注意胶带通常有50% 重叠的,也就是双层。
12,耐火焰传播性Resistance to Flame Propagation.阻燃性应确保火焰不会通过线束上的胶带来传播。所有的粘性线束胶带需要做这个测试。
过程. 这个测试根据 ISO 3795与FMVSS 302 来执行。用于由7根1.0 mm2 的电线组成,并有50%胶带重叠的的线束。电线使用的绝缘层材质根据胶带的温度等级。见表4。阻燃性应该根据表5来评定等级.See Table 4。
表4: 根据温度等级的绝缘材质

Table 5: 耐火焰传播性

需求. 对于车身外部,底盘,引擎盖下的应用,胶带至少应满足等级B的阻燃性等级。对于车身内部的线束应用,胶带应至少满足等级C的阻燃性等级。
13. 雾化.也就是在100°C 下雾化分析16 h。只需要测试汽车车身内部应用的胶带。
14. 挥发性有机物(VOC)与半挥发性有机物(SVOC)排放 应该根据主机厂的要求来测试,VOC 与 SVOC 都应该被限制,只需要测试汽车车身内部应用的胶带。
15. 酮与醛的排放. 根据 应该根据主机厂的要求来测试。只需要测试汽车车身内部应用的胶带。
16. 气味. 应该根据主机厂的要求来测试。只需要测试汽车车身内部应用的胶带。
17. 手撕性. 如果这个胶带的拉伸强度(见4)不超过90 N/cm,应该被定义为“手撕性”。并且,胶带在被手撕之后,边缘平滑,没有磨损。
18. 热水喷射测试(仅用于车身外部胶带).用于潮湿区域的粘性胶带应能抵制住压力,因为他们有可能发生在带有热水设备的清洁操作区域
测试样品/流程这个测试的操作带有一个市场上可以买到的热水喷射设备与一个垂直夹住的线束样品。这个线束直径在10-15mm,长度在50cm-60cm,由1mm2的PVC的电线组成,并用胶带缠绕有50%的重叠。胶带末端固定在位置上。应该满足下面的参数:
• 扇形喷嘴角度30° 到 35°
• 喷嘴与线束之间的距离在100 mm 到150 mm之间
• 在距离线束40cm到50cm处(不要喷线束的边缘),以移动速度2 cm/s - 4 cm/s对线束中心出进行喷射。
• 2分钟的暴露时间
• 水温 80 °C ± 5 °C
• 操作压力在8000 kPa 到10 000 kPa之间 (80 bar 到100 bar)
• 对着样品的喷射角度为90° ± 10°
测试结果的分析. 在热水喷射处理之后,粘性胶带不应有破裂与目视上的损坏。脱位或者覆盖物被打开到电线暴露是不允许的。在测试报告中,特殊的观察应该被指出。
19. 介电强度 (仅用于焊接点胶带) 这个测试仅用于铰接胶带,因此有特殊的电气绝缘要求。
测试样品/过程. 用一个近似50cm长的0.5 mm2PVC的电线。在中心区域去除一段20mm长的绝缘层。用50mm宽的胶带将露出的区域包裹绝缘3层来进行测试。在粘性胶带外面包裹铝箔。首先施加测试电压1 kV (50 Hz to 60 Hz)持续一分钟,然后以500 V/s的速度来增加电压,直到电介质击穿。









扫一扫
扫一扫