线束工程师服务平台
可以搜到:产品、技术、资料、新闻、检测、企业、视频
注:下文为特斯拉于7月18日公开的专利“WIRING SYSTEM ARCHITECTURE”,由「有道词典」翻译、「冷酷的冬瓜」整理。
标题:线束系统结构
摘要:一种用于汽车的新型线束、电源分配以及通信系统,包括多个设备,其中所属设备连接到具有外护套的主干节段,第一导线设置在外覆层内,第二导线设置在外覆层内,一对内部护套设置在外覆层内并至少包裹住一根导线,作为第一导线和第二导线之间的绝缘层,并且外覆层内也设置了屏蔽部件。

背景
技术领域
本发明设计一种新型线束、电源和通信分配系统。更具体地,本发明设计汽车的线束系统。
背景技术
传统的汽车线束系统是零散的解决方案。通常,由不同的线束将每个不同的电气部件连接到一个中央电池或者电源。每个部件都分配电源,但是通信和信号则需要多个线束。在一辆车内,线束的总长可达数英里。这些线束通常由多个不刚性的圆形导体组成。圆形导体不适合传输电流,并且传统线束不够刚性导致需要采用人力将其组装到汽车上,进而拖慢生产节奏。此外,将每个部件都连接到中央电池并不是一个整车级的最优解。
因此,需要新型线束和一个能够克服上述缺点的线束系统结构。
图纸简介
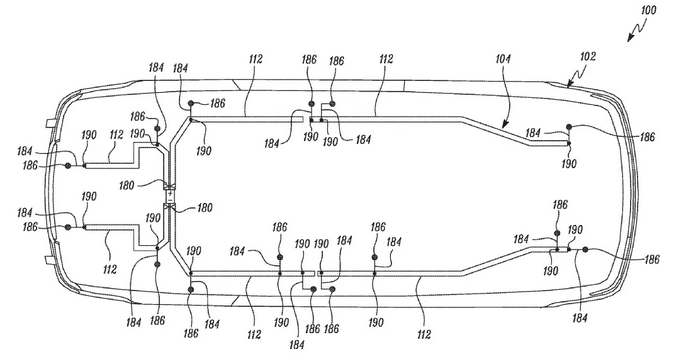
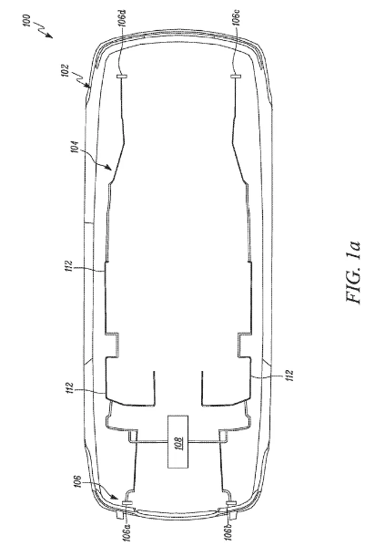
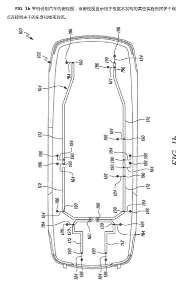
FIG. 1a 举例说明汽车的俯视图,该俯视图显示用于根据本发明的某些实施例将多个设备连接到主干的车身和线束系统。








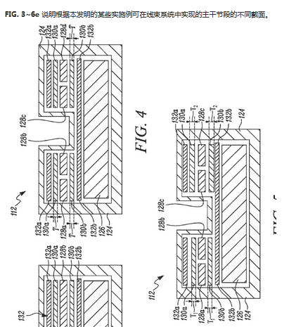
FIG. 7 举例说明根据本发明的某些实施例可在线束系统中实现的主干节的不同截面。

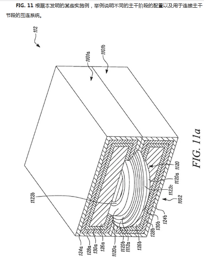
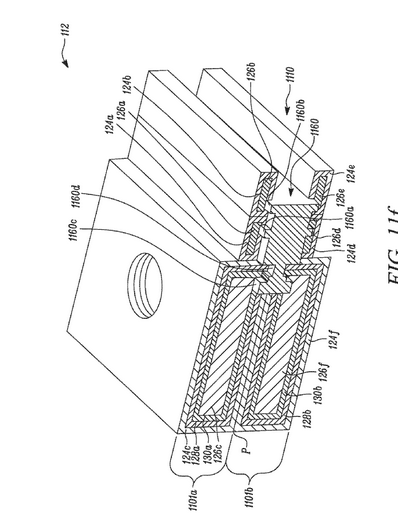
FIG. 8 举例说明与主干节段相关联的一对节段的透视图,根据本发明的某些实施例,这些节段被设置为在互连系统的帮助下相互连接。

FIG. 9 举例说明根据本发明的某些实施例显示带有圆柱形销钉和插座的互连系统的主干节段。















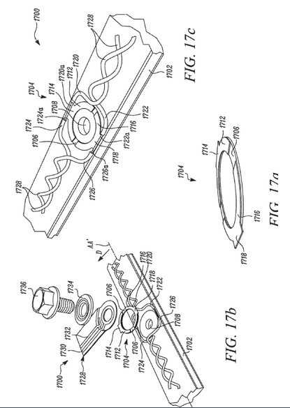
FIG. 17a 根据本发明的某一其他实施例,举例说明复合垫圈。
FIG. 17b 根据本发明的某一其他实施例,使用图17的复合垫圈和挠性板的主干节段的爆炸图。
FIG. 17c 根据本发明的某一其他实施例,说明使用图17的复合垫圈连接的主干节段。
















披露的详细说明:
本发明涉及一种线束系统结构以及实现该体系结构所需的线束和连接器。本发明公开的整体线束系统采用不同于传统汽车线束系统结构的方式进行线束设计。传统的汽车线束结构往往从集中式的控制和电源穿过车辆到达各个用电器而导致过于冗长。这种新型的结构减少了线束的数量和长度,并将某些控制器转移到组件中,这些组件控制车辆中的一个或多个设备。为了实现电力和信号的传输,本文创建并描述了新的线束和连接器。
在这种新的线束系统结构中,子系统被打包并定义在特定实施例中的一个或多个组件中。比如,一个车门可能包含一个控制器(或者线束端子),它控制多个设备,比如门锁、灯光照明、音频等等。除了减少所需线束的数量和长度,通过创建这些子组件,然后将它们连接到主干线束结构,这将减少产线上的装配时间,对于提高汽车制造过程中的生产节拍非常有利。子组件可以在总装之前就完成装配,在总装过程中只是连接并验证门组件和子系统之间的连接即可。
本披露的实施例旨在实现上述目标。
现在将详细地描述具体的特征,例子将在附图中说明。
扫一扫
扫一扫